Two-Stage Mechanical Oscillator - The Pendulum-Lever System
- A Mechanical Amplifier of Clean Energy -
Free Mechanical Energy Device

A simple mechanism with new mechanical effects, represents the source of clean mechanical energy. This gravity machine has only two main parts: a massive lever and a pendulum. The interaction of the two-stage lever multiplies input energy into output energy convenient for useful work (mechanical hammer, press, pump, transmission, electric generator...).

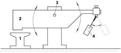
Mechanical hammer with a pendulum
1 - anvil, 2 - massive lever, 3 - lever axel, 4 - physical pendulum
The creator, inventor and constructor of the two-stage mechanical oscillator and the author of the related patents is academician Veljko Milkovic -- a Serbian internationally awarded researcher and inventor being interested in past events, ecological innovations and new clean technologies. During his successful research career, he created around 114 inventions and got 29 granted patents some of which have been in use for years.
Principle of Work
A Lever with a Physical Pendulum as a Simple Machine
Mechanical hammer with a physical pendulum is an original device - a machine which is turning the oscillations of the physical pendulum, hanged on an arm of a two-armed lever, into the oscillations of the weight on the arm of the same lever. The axis of rotation, the axle of the physical pendulum is parallel to the axis of rotation, the axle of the lever. The axle bed of the lever is connected to the surface with girders. The axle of the physical pendulum is oscillating up and down, when the pendulum is out of balance. Thus, the weight on the other arm of the lever is oscillating as well. The arm on which the pendulum is positioned is lifted with every movement of the pendulum away from the balance, because the weight of the pendulum weight is decreasing, and the same lever arm is lowering when the pendulum s closer to the balance position and that happens in succession. The period of oscillation of the lever and the weight on it is twice shorter than the period of oscillation of the physical pendulum and the weight on it.

On picture below, the triangle represents the support for the two-armed lever. The small circles are the two axis. The lever rotates on one and the physical pendulum on the other. On the right arm of the lever is an angle on which the physical pendulum is oscillating, and on the left arm is the weight which oscillates together with the lever. As soon as the physical pendulum is out of balance and begins to oscillate, the lever starts to oscillate as well…

The position of the lever and the pendulum
at the simultaneous oscillation of the lever and the pendulum
Origin of Energy Based on Difference in Potential
Energy is created due to the difference in existing devices. Consumers of energy use the difference in the potential between the plus and the minus (direct current) and zero and the phase (alternate current). All heat and thermal motors accomplish useful work due to the higher temperature and pressure. Mills and power plants use different levels of water... The same case is with the two-stage mechanical oscillator.

Difference of the potential during oscillation of the physical pendulum
1 - weightless state in the upper position
2 - culmination of force during the fall in the lower position
Since there is a difference in potential between the weightless state (1) and culmination of force (2) during oscillation of the pendulum, the same is true for centrifugal force, which is zero in upper position, and culminates in the lower position at maximum speed.
Prototypes & Models
|